一、 概述
厭氧培養箱是一種在無氧環境條件下進行細菌培養及操作的專用裝置。它能提供嚴格的 厭氧狀態恒定的溫度培養條件和具有一個系統化、科學化的工作區域。在本裝置內操作培養,可以培養**難生長的厭氧生物,又能避免以往厭氧生物在大氣中操作時接觸氧而死亡的危險性。因此本裝置是厭氧生物檢測科研的理想工具。本裝置也是一物多用的良好儀器,如改變操作方法,為微氧菌的生長繁殖提供良好的生長條件。 二、 特點
M4794型
厭氧培養箱是由恒溫培養室、真空取樣室、厭氧操作室、氣路、電路控制系 統、箱架、瓶架等部分組成。整機造型新穎,結構緊湊,具有厭氧環境好,密封性能好,氣檢溫控精度高,穩定性好,使用方便,省氣、經濟、工作安全可靠優點。其特點如下: 1.使用科學先進手段達到厭氧環境的高精度、其恒定性能好,使用可靠。
2.培養箱溫控采用高指示精度的數字顯示溫度調節儀,不僅能準確直觀地反映箱內溫度,而且確保溫度調節器在失控的情況下,能自動進行溫度再控制,是一套有效的限溫保護裝置,確保培養物在安全溫度環境條件下生長。
3.箱內裝有紫外線殺菌燈,氣體經過過濾后進入箱內,可有效地避免雜菌污染。 4.氣路裝置,可任意準確調節流量,能任意輸入各種所需氣體。
5.內套均由不銹鋼板制成,光潔雅致,防腐耐用,活動式擱板支架造型新穎,使用方便。 6.操作室前窗采用厚透明特種玻璃制作,能清晰直接觀察室內操作情況,操作使用塑膠手套可靠舒適、靈活,使用方便。
7.操作室內備有特殊接種棒滅菌器,并附設有試管內熔蠟裝置。 8.室內裝有除氧催化器。
三、主要技術指標
1.取樣室形成厭氧狀態時間小于5分鐘。
2.操作室形成厭氧時間小于1小時(抽氣充氣轉換)。
3.操作室在停止補充微量混合氣體的情況下,厭氧環境維持時間大于12小時。 4.使用溫度:室溫+0.3℃~50℃。
5.培養箱溫度波動≤±0.3℃;溫度分布均勻性±1.0℃。
6.操作室內體積:高650毫米、寬920毫米、長600毫米,培養箱內體積:高300毫米、寬250毫米、長200毫米。
7.電源220V±10%AC,功率:600W。
四、安裝
1.整機應安放在溫差較小,操作方便的位置,應避免陽光直曬和遠離采暖設備。放置要平穩。 2.將混合氣瓶、氮氣瓶,平穩安放在瓶架上,并分別裝好減壓閥。(含壓力表),將瓶架置于機架下。
3.接上氣路并檢查氣路,為防止漏氣,必要時可在各接管處用密封膠粘合。 五、使用
(一)操作室厭氧環境形成
1.按使用要求放置好必要的附件和器具,并向操作室內放入二個無毒塑料袋。 2.通電源開照明燈,開控溫儀,調節所需溫度及安全溫度。
3.操作室內放入1000g鈀粒(封閉)和500g干燥劑,并放入美蘭指示劑(封閉)。 4.關緊取樣室內外門,并抽真空校驗。
5.操作室內**次置換。(氮氣置換)。
1) 先用橡皮管插入操作室內進氣口,另一頭插入塑料袋。
2) 接通氮氣控制閥,使二只塑料袋充足氮氣,然后扎緊塑料袋。3) 把乳膠手套套在觀察板法蘭圈上并扎緊。
4) 把塑料袋內氮氣漸漸地放于操作室內,**全部放出。
6.操作室第二次置換(氮氣置換)重復一次充氮過程,并注意隨時用腳踏開關開閉排氣。 7.操作室第三次置換(混合氣體置換)。
(混合氣體配比為:N2↑85%、H2↑10%、CO2↑5%)
1) 調換氣路打開混合氣直通閥門進氣,充氣時要隨時腳踏開關開閉排氣。
2) 混合氣充滿塑料袋后,關掉混合器直通閥(三通閥)使混合氣經過穩流器、流量計輸入操作并調整流量計,流量為每分鐘10毫升左右。 3) 把塑料袋內混合氣體漸漸排出于操作室內。
4) 通過三次換氣后,操作室內氣體含氧量已處于極微量狀態。
8.操作室內打開鈀粒除氧劑,接通除氧催化器電源進行催化除氧,一小時后打開美蘭指示劑(美蘭安瓶)觀察其變色情況,不變色為操作室內達到厭氧環境。 9.開紫外線滅菌燈,室內進行滅菌處理。滅菌時間自定。 (二)菌種的置入和培養
1.檢查取樣室內門并關緊之。
2.打開取樣室外門,將菌種放入取樣室后即關上外門。
3.取樣室充氮置換三次過程:先抽真空度500毫米汞柱(66kpa)以上停,然后人式打開氮氣閥門進氣,使指針回復零位后進行下次操作。 4.如選室真空度較低就需要增加置換的次數。
5.取樣室內外門開啟,關緊要抽低真空度100毫米汞柱(13kpa)檢驗及幫助操作。 6.
厭氧培養箱需要長期連續使用的條件:
1) 每天在操作室內打開美蘭指示劑觀察,正常情況下使用。如不正常就必須重新換氣。 2) 要長期連續輸入微量的混合氣體,使補進的氫氣能和微量的氧結合通過催化吸收,保證
了室內厭氧狀態,補入混合氣流量選定為每分鐘10毫升左右。 3) 連續培養運行**,更換一次除氧劑和干燥劑。 #p#分頁標題#e#
7.接種棒滅菌器的應用:
1) 隨時用鎳鉻電熱絲使電極短路而變赤熱以進行殺菌(接種棒)。
2) 熔蠟處可直接放上,試管封蠟口旋轉熔蠟。 8.操作室內培養箱內室溫度可任意選擇和控制。
9.混合氣瓶、氮氣瓶輸出壓力調整:調節減壓閥,使輸出壓力為0.1Mpa左右。 六、注意事項
1.儀器盡可能地安裝于空氣清凈,溫度變化較小的地方。
2.開機前應全面熟悉和了解各組成配套儀器、儀表的說明書,掌握正確使用方法。 3.培養物放入必需是在操作室內達到**厭氧環境后放入。
4.如發生故障(停氣等原因)操作室內扔可保持12小時厭氧狀態。(超過12小時則根據需要把培養物取出另作處理)。 5.經常注意氣路有無漏氣現象。
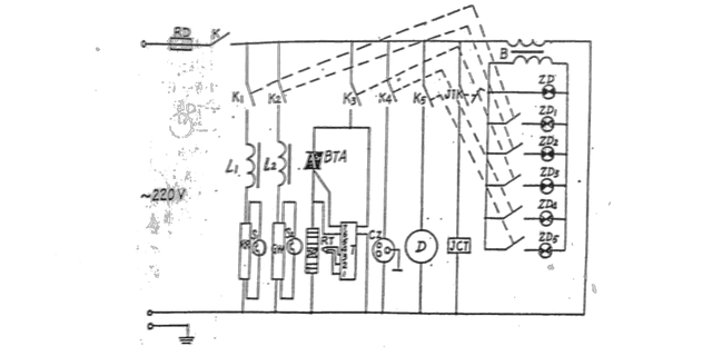
6.調換氣瓶時,注意要扎緊氣管,避免流入含氧氣體。 7.真空泵按要求使用,定期檢查加油。 七、電氣原理圖

M4794型熔臘消毒器使用說明書
一、 用途、特點
M4794型熔臘消毒器系M4794型厭氧培養箱配套裝置,也能配套在任何G外厭氧箱上 使用。也可作醫用上的單獨使用儀器。該儀器吸取了G外消毒器的長處,并具有體積小、用電省、功能齊等優點,是一種較為理想的醫用熔臘消毒器。 二、 主要技術指標 1. 工作電源:220V,50Hz 2. 功率:熔臘50W;消毒20W
3. 外形尺寸(長×寬×高):200×103×145(mm) 4. 重量:2kg
三、 使用方法
1. 使用前把電源插頭插上,接通電源,并打開儀器面板上的電源開關,此時電源指示燈應發亮。
2. 熔臘功能:打開儀器面板上的熔臘開關,此時熔臘指示燈應發亮,稍等幾分鐘,后面板 上熔臘頭子發熱,試管可接近熔臘頭子上的小銅塊旋轉慢慢熔臘。
3. 消毒功能:打開儀器面板上消毒開關,此時消毒指示燈應發亮,并插上后面板上的消毒扁插頭,這時電熱棒發熱,同時將電熱絲觸碰頂部的兩根銅極(長的兩根),電熱棒上的電熱絲會發紅,將發紅的電熱絲伸入試管內少許時間即可消毒。 4. 儀器使用完畢后應切斷電源,放置在干燥清潔的地方。
